- Modell:
- Swivel
- Marke:
- Blacksafe
- Familie:
- Schlingen, Verbindungsmittel und Falldämpfer
- Ordnung:
- PSA gegen Absturz
- Artikel-Nr.:
- SW1
- Normen:
- DIN EN 354
- Lebensdauer:
- —
- Nutzungsdauer:
- bis zum Ende der Lebensdauer
Produktbeschreibung der Marke
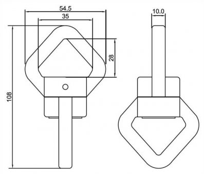
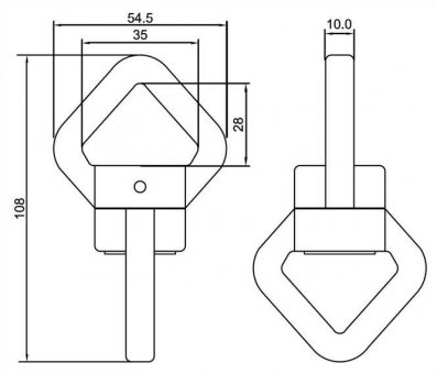
Drehwirbel mit einer Belastbarkeit von 30 kN. Durch die große Form lassen sich sowohl oben als auch unten mehrere Karabiner einhängen.